为啥要抖音DSO获客?只因“烧钱”太痛!

原创

AIDSO爱搜

运营干货

2475

29天前

为啥要抖音DSO获客?只因“烧钱”太痛!


波波:今天给大家推荐一篇 爱搜x生财 抖音DSO获客航海,优秀成员代表西昂的分享,基于之前的获客经验,加上抖音DSO方法的快速理解和应用,短时间跑通获客,并且实现成交,成功搭建了抖音DSO获客的基本盘。^_^

文章5000字,包含波波的点评,希望能够帮助到大家。同时本周四晚上7点还会在视频号直播,聊抖音DSO获客,大家可以预约收看!

各位伙伴,大家好!我是西昂,很高兴能有这个机会,跟大家分享最近的进展。

今天我就想把我自己最近在抖音DSO上的一些经历、踩过的坑、还有拿到的一些小结果,原汁原味地分享给大家。

Part.01

我们为什么要做抖音DSO?

先看看我们以前有多“痛”

我想先带大家看一张图,可能做过百度竞价推广的伙伴会深有体会。流量成本已经高得无法接受了。这样卷下去肯定不是办法,必须要找到新的突破口。

上图是我们做百度竞价的后台数据。可以看到每天的消耗金额还有转化次数,不用刻意计算,你就能看出来:

图片

我们的单条线索的获取成本,

已经超过了1000块钱!

这不是开玩笑,

钱是真金白银花出去的!

用户在百度上点一下鼠标,我们后台可能就没了几百块,钱花得跟流水一样,但客户能不能联系你,最后能不能成交,心里完全没底。但是没有办法,只要有客户就没有办法停下,只能每天看着后台数据心惊肉跳。

正是因为这种“烧钱”的痛,我才下定决心,一定要找到一个成本更低、效果更持久的获客渠道。所以,我把目光转向了抖音DSO。工具:爱搜aidso

抖音DSO的效果到底怎么样呢?它是不是我们想要的答案?我同样用数据说话。

大家再看两张图:

图片

数据来自爱搜(aidso.com)下同

图片

DSO获客精准咨询线索

第一张,是我们现在通过抖音DSO,一个月覆盖6.62w人的精准关键词,稳稳地排在搜索第一。带来的直接效果就是,接到了很多个精准的咨询电话。这几天又接了几个电话,已经交给业务去跟进了。

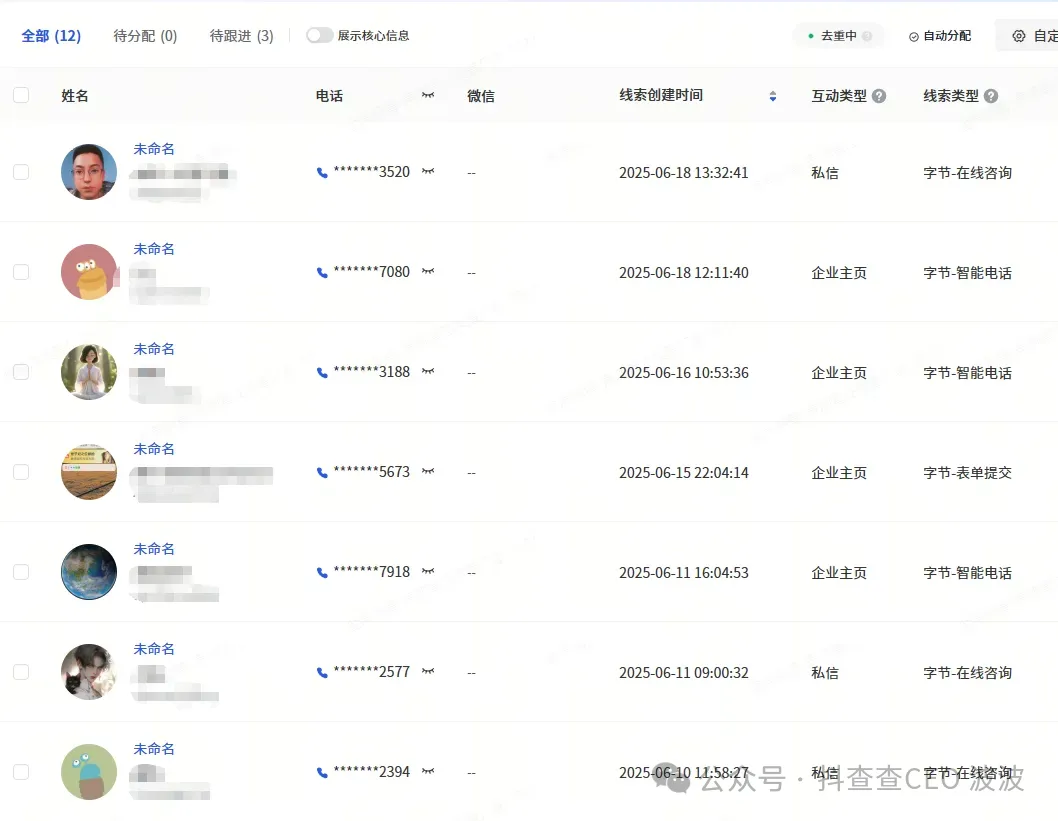
图片

更关键的是上面第二张图,这是我们抖音企业号的后台,通过抖音来的客户列表。可以看到真实的客户数量,已经成交了4单,利润大概在5000块钱左右!我们现在还是测试阶段,报价比较低,否则利润更高。

图片

昨天跟单的业务反馈给我说,

又成了一单,

利润有大概1-1.5万。

关键是没有进行任何投放!

大家对比一下,一边是花1000块钱买一个不知道能不能成的线索,另一边是几乎零成本地获得精准客户,并且已经产生了实打实的利润。

这个账,我想谁都会算。这也坚定了我走下去的信心:我们这条路,走对了!

波波点评:能够如此短时间将业务跑通,非常牛b,学习能力和行动力都很强,直接学习。波波建议如果想要长期量大稳定的获取线索,一定要结合付费,把蓝v账号的权重养高,因为纯薅流量不符合平台利益,要付费和自然结合,良性增长。^_^


Part.02

聊聊我的经历,

我是怎么走到这一步的

看到这些结果,大家可能会好奇我是怎么做的。其实我的过程也挺曲折的。

抖音DSO:选词、内容生产、转化产出,三个部分都要做好。

选词对于我这种有百度seo和sem经验的人来说不算难掌握,抖音DSO手册里面的逻辑和我之前的经验基本吻合,大量的长尾词优化可以带来稳定的流量。

但是对于内容生产这块,一开始,我也很迷茫,不知道到底该做视频还是图文。当时觉得图文笔记制作简单,就先做图文,想着介绍下产品,多放点内容和关键词。

但后来我发现不对劲,我去抖音上搜我要做的关键词,我发现排在前面几乎清一色都是视频。DSO的学习手册里也提到了,不同的关键词下会有不同类型的内容,那么既然关键词都是视频,那么我做图文明显是不适合的。

波波点评:一般情况下,关键词和图文都是可以选择的,波波确实在直播中建议新手先做图文,来得快,投入的时间成本最低。但是也要视情况而定,因为有些赛道的关键词,曾经可能有玩家大量的生产低质量或者同质化图文,导致这个词下面的图文权重被平台降低了,这时候再选择做图文是很难直接有明显结果的,如何判断,就是看所选关键词下面如果一条图文都没有,就很有可能是这种情况,结合爱搜工具去看下历史情况就更加能够验证这一点,这时候就应该选择视频类的内容去做DSO。

明确方向后,我就开始琢磨怎么做视频。我意识到,绝对不能等视频拍完了再去想关键词,那就晚了。必须在动手之前,就规划好我的关键词布局。

比如我手上有3个账号,A账号负责哪些主关键词B账号负责哪些长尾词C账号又怎么做配合,这些都得提前想清楚。

说实话,这个过程很考验耐心。有时候一个视频发出去,数据不好,我也会焦虑。但后来我发现,只要你严格按照手册中总结的方法去执行,效果是必然的。

很多时候感觉没效果,其实就是动作变形了,或者理解上有点偏差。这时候我就会停下来,不埋头瞎干,而是把我们的操作手册翻出来,再看几遍,跟自己的操作去比对,很快就能找到问题所在。


Part.03

分享几个我压箱底的心得

第一,账号选择,一定要用蓝V号!

这点我必须强调。蓝V能直接挂电话组件,可以在视频中、评论区显示拨打电话的链接,用户看到你的视频,感兴趣了,手指一点就能直接联系你。你非要用白号,让用户去翻你主页,再私信你,路径太长了……

记住,我们做引流的核心目的,就是无限缩短用户的转化路径,越短越好,蓝V目前就是最安全最短的那条路。

第二,要像“特务”(用小号)一样去研究同行。

我每天都会花时间去看同行。不只是看他发了什么,得去扒他的选题,看他标题里用了哪些词,视频是怎么剪辑的,是真人出镜还是混剪,甚至用什么背景音乐都要去研究。

我发现很多同行根本没有DSO意识,内容设计很粗糙,这就是我们的机会,我们可以做得比他们专业得多!

第三,学会用工具解放自己。

选词肯定是用爱搜aidso就够了,内容生成,还有很多AI工具可以选择。

就比如前天,我琢磨着要不要铺大量的图文内容来测试长尾词的效果。但一篇篇写太慢了,我就用AI写了个脚本,设定好模板和关键词,一键就给我生成了300多篇图文的初稿。我只需要花点时间去修改和优化一下就能发了。效率是不是瞬间就上来了?所以大家思路要打开,多利用现在的AI工具。

第四,选题不枯竭的技巧。(小技巧来啦)

我研究了三个方法来解决这个问题:

1)通过抖音搜索的下拉菜单选题

抖音搜索关键词以后,会出现10个联想下拉关键词。

在关键词后面依次加:a、b、c、d一直到z,会得到更多联想词。

还有在关键词后面加上:1-9的数字,也会得到很多关键词。


2)通过平台获取更多下拉词+联想词

通过百度获取,下拉列表和底部联想词。

通过头条搜索,获取下拉关键词

还可以通过必应、搜狗、360搜索等等平台获取。


3)通过数据平台获取关键词

通过爱搜AIDSO平台查看关键词实时热度

通过爱站、5118等平台挖掘长尾关键词

通过百度竞价后台的关键词规划师来扩词

图片

通过上面的方法,我们就得到了大概几千、上万条的数据。再根据获取的数据进行拓展。上图为爱搜aidso显示的木门以及相关长尾词的:覆盖人次、近七日搜索量、竞争度等关键信息。

比如,这个关键词:木门价格,我们可以根据这个词进行拓展。

    •木门价格是多少

    •木门多少钱

    •木门价格是多少钱

    •买木门多少钱

    •多少钱能买木门

经过多次拓展,你就拥有大量的选题啦!

第五,文案脚本怎么使用ai快速批量生成。

搜索流量主要还是看视频的排名,所以对于文案和拍摄的要求没有那么高,快速批量化的操作可能更适合咱们。所以,我就使用了ai批量生成文案的方式,来提高视频的生产速度。

prompt如下(我使用的是Gemini 2.5 Pro):

# 角色

你是一位精通抖音SEO算法和内容策略的短视频营销专家。

# 核心任务

为我的产品/服务,生成4个以抖音SEO排名为首要目标的短视频脚本。脚本必须同时具备高度的算法友好性(关键词优化)和用户吸引力(故事性)。

# 第一步:定义SEO关键词矩阵(请先填写)

* **核心关键词 (Core Keyword):** [ 填入1个最想排名的词,例如:木门价格 ]

* **产品关键词 (Product Keyword):** [ 填入你的产品名,例如:木门 ]

* **长尾关键词 (Long-tail Keywords):** [ 填入2-3个用户可能搜索的具体问题,例如:木门哪里有卖的,木门的价格是多少 ]

* **场景/行业关键词 (Scene/Industry Keywords):** [ 填入2-3个相关词,例如:装修,家具,家装 ]


# 第二步:设定强制性SEO执行规则

在生成每个脚本时,必须严格遵守以下关键词布局规则:

1. **标题优化:** 标题必须包含 **[核心关键词]** 或 **[长尾关键词]**。

2. **黄金5秒:** 视频开头第一句话(5秒内)必须口播并字幕展示 **[核心关键词]**。

3. **正文密度:** 在正文故事部分,**[核心关键词]** 需自然地口播2-3次。**[产品关键词]** 和 **[长尾/场景关键词]** 需至少各出现1次。

4. **字幕匹配:** 确保最终的口播文案可以直接用作视频字幕,实现“音字同步”,便于算法识别。

5. **结尾强化:** 结尾的价值总结或引导句中,必须再次提及 **[核心关键词]**。

6. **评论区引导:** 引导用户评论的指令词,必须是 **[核心关键词]** 或其变体。

7. **话题标签矩阵 (Hashtag):**

    * 必须包含:`#[核心关键词]`

    * 必须包含:`#[产品关键词]`

    * 选择性包含:`#[长尾关键词]`,`#[行业关键词]`,`#[你的品牌名]`


# 第三步:生成脚本内容

请基于以上SEO矩阵和执行规则,围绕以下4个场景,使用“钩子+故事+价值+引导”的四段式结构进行创作。


* **场景1: 紧急需求** (考验响应和解决问题的能力)

* **场景2: 信任缺失** (考验专业度和流程化解决问题的能力)

* **场景3: 高风险决策** (考验产品质量,避免出现问题)

* **场景4: 价格疑虑** (考验价值塑造,证明产品能真正解决问题)


# 输出格式

请为每个场景提供以下完整结构:

* **场景:** [场景描述]

* **SEO关键词布局清单:** (展示该脚本如何满足了上述7条规则)

* **标题建议(3个):**

* **口播/字幕脚本:**

    * **开头钩子 (植入关键词):**

    * **正文故事 (高密度植入关键词):**

    * **结尾引导 (重复关键词,引导评论):**

* **# 话题标签矩阵:**

根据生成后的文案内容来拍摄视频或者混剪,就可以很快速的搞定视频啦!

我目前的做法是通过混剪视频来做排名,因为选的关键词竞争不大,所以还不需要真人拍摄。混剪的时候将素材与文案进行匹配,生成配音后就有比较不错的效果。


波波点评:其实爱搜aidso工具,在拓词,挖掘长尾词,以及基于关键词的标题生成,剧本生成,图文生成方面也做了很好用的工具,并且持续在迭代升级。核心是基于我们对于关键词流量数据的实时掌握,同时对接了多个头部的大模型接口,方便用户避免多场景切换,以及提升内容生产的质量和效率。希望大家能够更多的体验。^_^


Part.04

想跟大家说的一些心里话

今天,我其实最想传递的一个信念就是:抖音DSO,真的没有那么玄乎,它拼的不是运气,而是正确的方法+持续的行动。

我觉得最有效的方法,就是反复学习。我们的航海手册,我不知道来来回回读了多少遍了。每次遇到瓶颈,再读一遍,都会有新的体会,会发现“哦,原来这个细节我之前没做到位”。然后马上去调整优化,效果很快就来了。所以,当大家觉得迷茫的时候,不妨也像我一样,把最基础的东西拿出来重温一遍,一定会有收获。

我们现在做的事情,方向是绝对正确的,而且已经验证了是能赚到钱的。剩下的,就是我们每一个人,能不能把这些要求不折不扣地执行下去,在执行中不断总结、不断优化。

希望我的分享能给大家带来帮助,让我们一起,把抖音DSO这块蛋糕,吃透、吃饱!谢谢大家![烟花]

波波点评:肯开心又看到了我们做的事情能够帮助到大家,尤其是西昂能够完全理解DSO获客的核心奥义,同时也给了我们很多的启发和思考,在产品层面也有了新的改进思路。希望有更多人,能够在DSO的研究上,拿到更多大的结果。^_^

本文完!

6月份成都的沙龙活动圆满成功:

图片

7月份来到广州欢迎大家参加:扫码早鸟报名起来

图片

爱搜(aidso)搜索流量挖掘工具,核心功能:选词+素材分析+内容改写/生成+排名监测+用户需求洞察脑图。欢迎体验:www.aidso.com,添加小助理进行咨询业务以及参与线下活动,加群和领取各种福利:

微信扫码分享

分享到微信
交流圈

扫码进群免费领取会员

微信公众号

热门文章

{{item.title}}

{{item.time_desc}}